Help us help you. By posting the year, make, model and engine near the beginning of your help request, followed by the symptoms (no start, high idle, misfire etc.) Along with any prevalent Diagnostic Trouble Codes, aka DTCs, other forum members will be able to help you get to a solution more quickly and easily!

02 s10 no start

  • jturner223
  • jturner223's Avatar Topic Author
  • Offline
  • New Member
  • New Member
More
8 years 2 months ago #18454 by jturner223
02 s10 no start was created by jturner223
I’m working on a 2002 s10 with a 4.3. I replaced the engine, transmission and wiring harness because the vehicle caught on fire. Also replaced the fuse box. It won’t start but it’s got fuel, spark, compression and it’s in time. I know the engine ran because I drove the truck in that I pulled it from. Also has a crank sensor signal

Please Log in or Create an account to join the conversation.

  • Tyler
  • Tyler's Avatar
  • Offline
  • Moderator
  • Moderator
  • Full time HACK since 2012
More
8 years 2 months ago #18456 by Tyler
Replied by Tyler on topic 02 s10 no start
Do you recall what the fuel pressure is? And is injection pulse present? If this was a used engine, it's possible the injector poppits are stuck shut and not spraying. If you have a bidirectional scanner, an injector balance tester would be ideal.

Please Log in or Create an account to join the conversation.

  • jturner223
  • jturner223's Avatar Topic Author
  • Offline
  • New Member
  • New Member
More
8 years 2 months ago #18587 by jturner223
Replied by jturner223 on topic 02 s10 no start
I couldn’t get a fuel pressure gauge to work on it and haven’t checked injection pulse. I did see injector balance test but like I said couldn’t get any fuel in the gauge for some reason. But the engine did run before I pulled it out of the other truck, still something could have happened to it

Please Log in or Create an account to join the conversation.

More
8 years 2 months ago #18668 by Tutti57
Replied by Tutti57 on topic Re:02 s10 no start
When you say no fuel in the guage, you mean no pressure is appearing on it at the rail?

Sent from my Moto E (4) Plus using Tapatalk

Please Log in or Create an account to join the conversation.

More
8 years 2 months ago #18672 by rockp2
Replied by rockp2 on topic Re:02 s10 no start
Remove the schrader valve stem. Hook up the gauge, turn the key to run (KOEO). Push the button on the gauge and bleed the air out of the gauge. Turn the key off. Bleed the gauge again if needed. Might need to do that a couple times before all the air is out of the gauge. Once all the air is out, the key to run or off, whichever stage you are at. Pump primes both when turn key to run and to off. There is also a prime spot right next to the fuel pump relay in the UBEC. You can use a fused jumper wire to prime the system that way. Once you're ready to measure, on prime you should get 60-66 psi on the gauge. Should drop no lower than 55 psi for 10 minutes.

Please Log in or Create an account to join the conversation.

  • jturner223
  • jturner223's Avatar Topic Author
  • Offline
  • New Member
  • New Member
More
8 years 2 months ago #18683 by jturner223
Replied by jturner223 on topic Re:02 s10 no start
Thank you! I did try bleeding air out but it must not have been enough

Please Log in or Create an account to join the conversation.

  • jturner223
  • jturner223's Avatar Topic Author
  • Offline
  • New Member
  • New Member
More
8 years 2 months ago #18693 by jturner223
Replied by jturner223 on topic Re:02 s10 no start
Just checked fuel pressure and it’s exactly the readings you told me also did an injector balance test and had a drop of about 20 psi each

Please Log in or Create an account to join the conversation.

More
8 years 2 months ago - 8 years 2 months ago #18697 by rockp2
Replied by rockp2 on topic Re:02 s10 no start
Sounds like you were successful in ruling out fuel delivery. Obviously you know your way around engines, so please don't be insulted on my next suggestion. Several times I have helped people out with your symptons who put the distributor back in when the engine time was 180 degrees out. Meaning, they installed the distributor when they were on TDC of the exhaust stroke instead of the compression stroke. There is a slight amount of compression you can feel out of #1 spark plug hole on the exhaust stroke so it is very common for people to think they are on the compression stroke when they are not. I've seen it several times personally. I'd start over double checking your timing. Also make sure your rotor is pointing at the little number "6" on the distributor housing when you are at TDC. If the rotor is not pointing directly at the "6" when you're dead sure you are on TDC on the compression stroke, you'll need to remove the distributor and reinstall so it lands at the spot once the distributor is fully seated. The crank balancer has two timing marks on it. One lines up at around 1 o'clock, the other is at about 4-5 o'clock. Make sure when you are lining up the marks if you go past you don't reverse direction to line them up.

P.S. One other very common mistake is the plug wires not hooked up correctly on the driver's side of the distributor cap. #3 wire should be in the position closest to the front of the truck, then #1 in the middle, then #5 closest to the firewall.
Last edit: 8 years 2 months ago by rockp2.

Please Log in or Create an account to join the conversation.

  • jturner223
  • jturner223's Avatar Topic Author
  • Offline
  • New Member
  • New Member
More
8 years 2 months ago #18711 by jturner223
Replied by jturner223 on topic Re:02 s10 no start
I’ve also checked that. The rotor will only go on one way and the distributor will only go in two ways, in time and 180 put like you said otherwise it won’t seat all the way down. I’ve had it both ways and I also have the plug wires on correct, I’ve triple checked that and the new cap is labeled. I’m no expert on these but I did put a wiring harness in from a junk yard because I couldn’t find one that way new. I had the part number from the one that was in the truck but the new wiring harness did not have one on it. This new one is correct for the ecu though with blue and red connectors and not blue and green. But the engine I put in used a blue and green ecu so I’m wondering if the injectors could be opening in the wrong order

Please Log in or Create an account to join the conversation.

More
8 years 2 months ago - 8 years 2 months ago #18718 by Noah
Replied by Noah on topic Re:02 s10 no start
If you put a used ECU in, then you may need to do the security relearn.
Koeo, the security light should come on and stay on.
Wait for the light to go out (about 10 minutes), then turn the key off for a couple seconds.
Do this 3 times without cranking the engine. (About half an hour).
After the third time through, when you turn the key off, and back on again, the security light should come on for a moment then go out. Then the truck should start.
Last edit: 8 years 2 months ago by Noah.
The following user(s) said Thank You: Tutti57

Please Log in or Create an account to join the conversation.

More
8 years 2 months ago #18734 by rockp2
Replied by rockp2 on topic Re:02 s10 no start

jturner223 wrote: I’ve also checked that. The rotor will only go on one way and the distributor will only go in two ways, in time and 180 put like you said otherwise it won’t seat all the way down. I’ve had it both ways and I also have the plug wires on correct, I’ve triple checked that and the new cap is labeled. I’m no expert on these but I did put a wiring harness in from a junk yard because I couldn’t find one that way new. I had the part number from the one that was in the truck but the new wiring harness did not have one on it. This new one is correct for the ecu though with blue and red connectors and not blue and green. But the engine I put in used a blue and green ecu so I’m wondering if the injectors could be opening in the wrong order


Just to make sure we're both saying the same thing, I'm not referring to the distributor being turned 180 degrees. It also only goes on one way or the bolt hole won't match up. With the engine in or out of time, it will fully seat that one way. But what I have seen common is #1 TDC was set on the exhaust stroke instead of the compression stroke when the distributor was set into place. Are we saying the same thing?

As far as the Passlock relearn, Noah is right on for the procedure (of course). The only thing is the truck will usually start for a few seconds then the injectors will be cut off. Did the truck start at all on your first tries?

I'm not sure about your PCM question without doing some researching. I wonder if you could hook up a noid light for the #1 injector and then using an old fashioned inductive timing light on the corresponding plug wire to see if they flash at the same time during crank? I really don't know on that. Just thinking out loud. Never tried it.

Please Log in or Create an account to join the conversation.

More
8 years 2 months ago #18735 by rockp2
Replied by rockp2 on topic Re:02 s10 no start
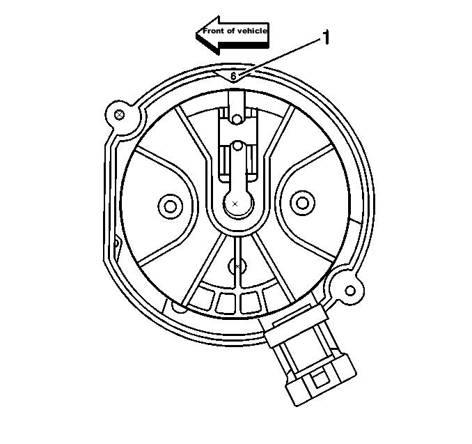
To further illustrate what I'm saying about the timing , or should better be put as distributor out of phase:

Line your timing marks up on the balancer



Remove the distributor cap, rotor should be pointing at the tiny "6" stamped into the passenger side of distributor (not the cap)...or pointing opposite of the "6" (crank turns twice for every rotation of rotor).



Option A: If the rotor is pointing at the "6", rotate the crank one full revolution until the timing marks are lined up again. Rotor will now be pointing opposite the "6". Remove the distributor (should be able to just lift it up) and turn the rotor until it points ALMOST to the "6". Reinstall the distributor and as it seats and the gears mesh you want the rotor pointing right at the "6".

Option B: If the rotor is already pointing opposite the "6", skip the turning the crank part and just remove the distributor and turn so it lands pointing directly at the "6".

Button everything up and try to start. It it starts, problem solved and the distributor was installed out of phase on the exhaust stroke. If it's no help, then you do want to insure that the crank is definitely on the compression stroke and rotor is pointing correctly before moving on to further troubleshooting.

Hope this helps.
Attachments:
The following user(s) said Thank You: Noah

Please Log in or Create an account to join the conversation.

More
8 years 2 months ago #18741 by Torx
Replied by Torx on topic Re:02 s10 no start

Noah wrote: If you put a used ECU in, then you may need to do the security relearn.
Koeo, the security light should come on and stay on.
Wait for the light to go out (about 10 minutes), then turn the key off for a couple seconds.
Do this 3 times without cranking the engine. (About half an hour).
After the third time through, when you turn the key off, and back on again, the security light should come on for a moment then go out. Then the truck should start.


And the ECU used to communicate with the other modules like BCM too. Normally those modules especially the ECU and BCM are programmed on the vin number.
Now if you changed the ECU (which has another vin stored in it) it tries to communicate to the BCM but that one got your old (and right) vin stored. AFAIK the ECU has to be matched to the BCM once installed in the car (it will not be working if programmed off the car).

If you question why i know that - i swapped the whole engine on my 1999 T10- Blazer (originally got the 4.3 V6 Vortec in it) to a brand new 5.7 V8 Vortec (normally used on Tahoes)
Of course this required a new ECU with the proper tune for this engine to work. Now i had this ECU programmed in the USA and shipped to me. After hooking it up, it would not shift and run properly until i took it to a dealer which was able to reprogramm the whole modules on the car (in my case we programmed it to a vin number of a Tahoe of course ;-) ) After that it worked like charm.


Another idea is to check the immobilizer system (at least my car has one). Some day (before swapping engine) i could not start it too. Remote key was working to open the car, security light went off, but car was shut down after some seconds.i bypasses the immobilizer system and had no problems since...
Try to google for bypassing immobilizer system for your car. I do not exactly remember how to do it, sorry.

Be blessed
Torx

Please Log in or Create an account to join the conversation.

  • jturner223
  • jturner223's Avatar Topic Author
  • Offline
  • New Member
  • New Member
More
8 years 2 months ago #18743 by jturner223
Replied by jturner223 on topic Re:02 s10 no start
It has almost started but never actually ran. And it is not a used ecu it’s the original one to the truck. I’m found the security reset now. It could be that because the pump is coming on but I have not tested the injectors while cranking only with bidirectional controls

Please Log in or Create an account to join the conversation.

  • jturner223
  • jturner223's Avatar Topic Author
  • Offline
  • New Member
  • New Member
More
8 years 2 months ago #18744 by jturner223
Replied by jturner223 on topic Re:02 s10 no start
Ok did that and still no start but now it’s cranking then slowing down and cranking again like a low battery but I just charged it and I’ve had a battery charger on the whole time

Please Log in or Create an account to join the conversation.

Time to create page: 0.330 seconds