*** Restricting New Posts to SD Premium Members ONLY *** (09 May 2025)

Just made a new account? Can't post? Click above.

Help us help you. By posting the year, make, model and engine near the beginning of your help request, followed by the symptoms (no start, high idle, misfire etc.) Along with any prevalent Diagnostic Trouble Codes, aka DTCs, other forum members will be able to help you get to a solution more quickly and easily!

Re:Re:12 volts on a map sensor on a 96 Jeep 4.0 should it not only be 5 volt

  • Biily
  • Biily's Avatar Topic Author
  • Offline
  • Junior Member
  • Junior Member
More
4 years 5 months ago #48669 by Biily
Hello.i hope you will help me out here I have a 96 Jeep Cherokee showing 12 volts on the map sensor with no spark or power to coil checked CPS it's responding with signal.where to go next

Please Log in or Create an account to join the conversation.

More
4 years 5 months ago #48672 by Cheryl
How are you measuring the voltage? Maybe it’s a bad ground if your going from battery negative. You should have 2 5 volt wires with the map unplugged front probing it

Please Log in or Create an account to join the conversation.

  • Biily
  • Biily's Avatar Topic Author
  • Offline
  • Junior Member
  • Junior Member
More
4 years 5 months ago #48673 by Biily
IAM probing from front and I have 12 volts on 2 of the 4 wires unplugged .every thing else appears to be 5 volt as it should be I have a full ground from ECU to add as needed and a 5 volt reading on the new CPS as I should when cranking or on appt with flywheel on target.stop . .could it be a bad oxygen sensor shorted out there is one weird thing that happens when the ignition switch is in acc position driver's back window wants to go down on its own .and you can hear a clicking noise in driver's door. Where to begin now

Please Log in or Create an account to join the conversation.

More
4 years 5 months ago #48674 by Cheryl
4 wires? At the map sensor??
The following user(s) said Thank You: Noah

Please Log in or Create an account to join the conversation.

  • Biily
  • Biily's Avatar Topic Author
  • Offline
  • Junior Member
  • Junior Member
More
4 years 5 months ago #48675 by Biily
Maybe I am miss representing the throttle body part . My first fight with a mopr product facing the front of the jeep it's on the left side of the throttle body.

Please Log in or Create an account to join the conversation.

More
4 years 5 months ago #48676 by Ben
Good catch Cheryl! Sounds like your looking at the IAC it is a stepper motor 12v doesn't surprise me there

Sent from my SM-G781U using Tapatalk

Please Log in or Create an account to join the conversation.

  • Biily
  • Biily's Avatar Topic Author
  • Offline
  • Junior Member
  • Junior Member
More
4 years 5 months ago #48677 by Biily
Am I referring to the wrong part as the throttle body.? I looks like a small round motor .the wires hook to .what makes or made me think it was the map sensor is the port in the inside of the t body in front of it.

Please Log in or Create an account to join the conversation.

  • Biily
  • Biily's Avatar Topic Author
  • Offline
  • Junior Member
  • Junior Member
More
4 years 5 months ago #48678 by Biily
Oh ok thanks so I had no voltage on the map sensor two wire connection probing from the front

Please Log in or Create an account to join the conversation.

  • Biily
  • Biily's Avatar Topic Author
  • Offline
  • Junior Member
  • Junior Member
More
4 years 5 months ago #48679 by Biily
Should I have 12 volt there on that 4 wire plug . ? And could I have a bad switch since the left rear window goes down on its own in acc position or just a bad door switch,?

Please Log in or Create an account to join the conversation.

  • Biily
  • Biily's Avatar Topic Author
  • Offline
  • Junior Member
  • Junior Member
More
4 years 5 months ago #48680 by Biily
I am at my last nerve with this red four wheeled cookie and almost head for the gas can and matches

Please Log in or Create an account to join the conversation.

More
4 years 5 months ago #48681 by Cheryl
So you have no 5 volts at the map? 3 wire sensor unplugged? If that’s the case you need to start unplugging sensors one at a time on the 5 volt ref or cut the wire at the pcm. Does the check engine light illuminate with key on? Use test light see if you have any blown fuses in the fuse boxes

Please Log in or Create an account to join the conversation.

  • Biily
  • Biily's Avatar Topic Author
  • Offline
  • Junior Member
  • Junior Member
More
4 years 5 months ago #48682 by Biily
No blown fuses at all codes 42 44 11 26 .and I think 36.

Please Log in or Create an account to join the conversation.

  • Biily
  • Biily's Avatar Topic Author
  • Offline
  • Junior Member
  • Junior Member
More
4 years 5 months ago #48683 by Biily
Which wire should I cut going to what pin number it will be a tomorrow thing thanks for your help talk to you tomorrow .stay safe live love and laugh.

Please Log in or Create an account to join the conversation.

More
4 years 5 months ago #48694 by Ben
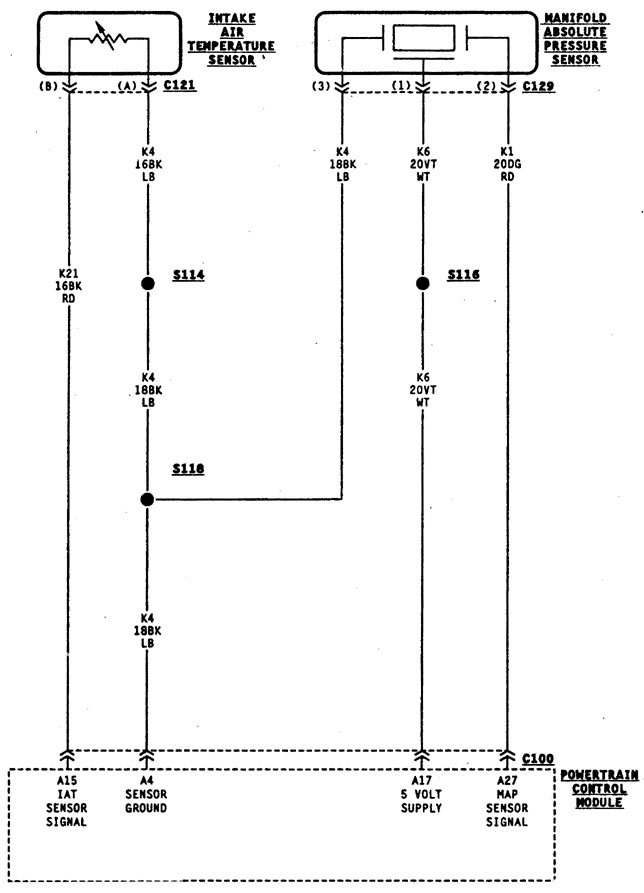
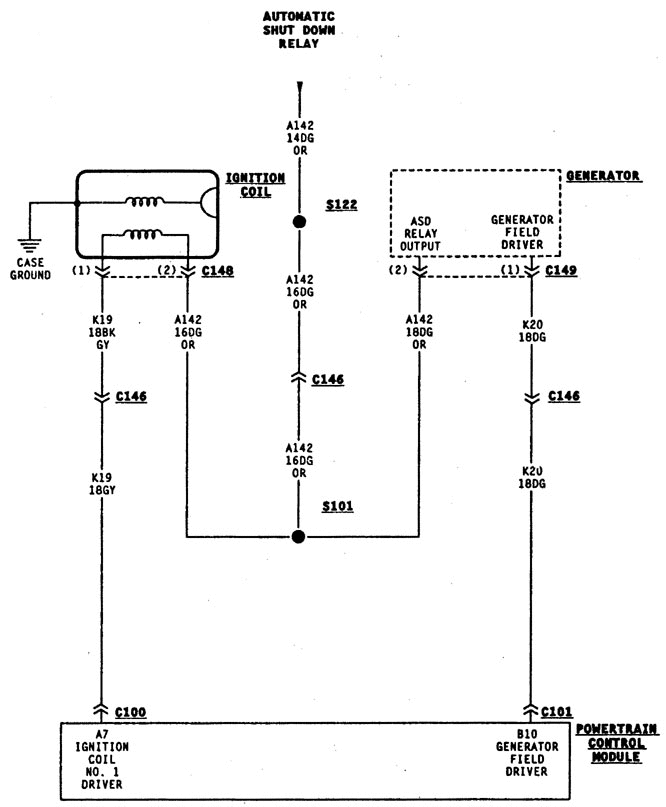
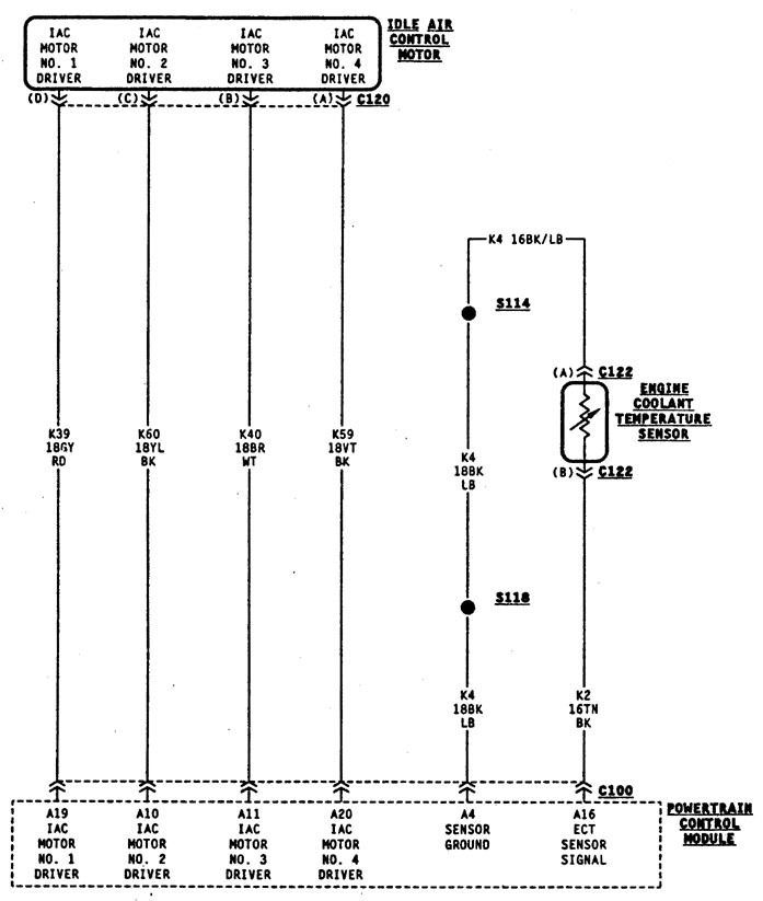
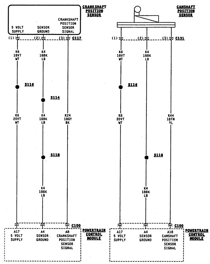
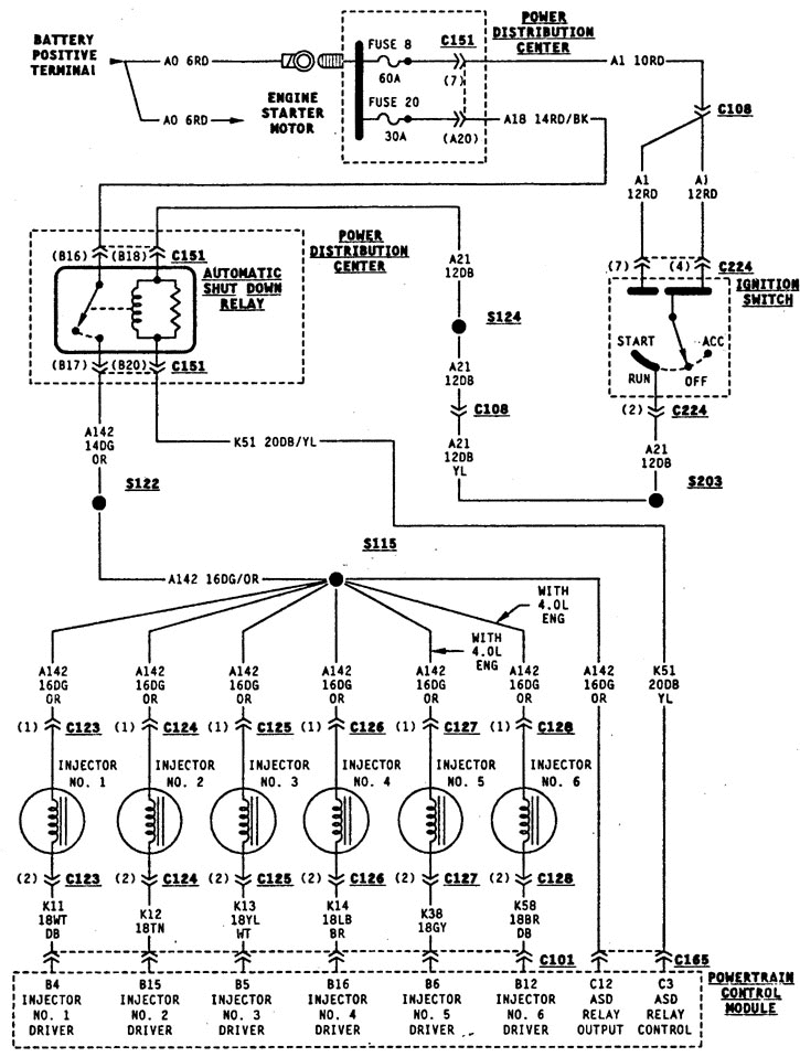
I think if were missing power to the coil and this is a no start symptom were chasing we should start there. the coil is supplied power from the auto shutdown relay (i hate these chryslers ASD) heres some relative diagrams to the stuff at throttle body and the coil power system

Please Log in or Create an account to join the conversation.

More
4 years 5 months ago #48695 by Ben
code 42 is for the ASD circuit the rest are random sensor circuit codes I suspicion you may have set some of these codes while testing?? I suspicion if you provide power to the coil and allow it to backfeed the whole asd circuit that it will run

Please Log in or Create an account to join the conversation.

More
4 years 5 months ago #48698 by Dtnel

Biily wrote: Should I have 12 volt there on that 4 wire plug . ? And could I have a bad switch since the left rear window goes down on its own in acc position or just a bad door switch,?


I'm not a "Chrysler" guy but I'd resolve one issue at a time though

The rear window deal sounds like it could be a switch but you need to check the circuit for proper power & grounds. Normally something don't act on it's own unless something is causing it. Don't forget when checking switches check for corroded plugs, wires, etc given the age of the vehicle.

Given the age i'd also check any previous wiring work you see that's been done as surely there may very well have been a hackathon but you never know till you get in there .

For future reference if there's something you're unfamiliar with upload a couple photos because as they say a pictures worth a thousand words.

Please Log in or Create an account to join the conversation.

  • Biily
  • Biily's Avatar Topic Author
  • Offline
  • Junior Member
  • Junior Member
More
4 years 5 months ago #48703 by Biily
No I have tried that it will run momentarily then shut down start and stall.

Please Log in or Create an account to join the conversation.

  • Biily
  • Biily's Avatar Topic Author
  • Offline
  • Junior Member
  • Junior Member
More
4 years 5 months ago #48705 by Biily
Any suggestions you could give me would mean a bunch to me at this point.i have worried over this thing for a month off and on .owned a 71 Dodge demon in my younger days made it into a rocket landed 30 days in the slammer dusting the cops but never had trouble with it like this Jeep.

Please Log in or Create an account to join the conversation.

  • Biily
  • Biily's Avatar Topic Author
  • Offline
  • Junior Member
  • Junior Member
More
4 years 5 months ago #48706 by Biily
So Cheryl thanks a bunch for your time and advice. So which pin is this wire on I should cut and where to go from there.

Please Log in or Create an account to join the conversation.

More
4 years 5 months ago #48707 by Ben
seems like the diagrams didnt post earlier??

Please Log in or Create an account to join the conversation.

Time to create page: 0.533 seconds